Building Internet Firewalls

Building Internet FirewallsSearch this book
Previous: 8.9 Real-Time Conferencing ServicesChapter 8
Configuring Internet Services
Next: 8.11 syslog
 

8.10 Domain Name System (DNS)

DNS is a distributed database system that translates hostnames to IP addresses and IP addresses to hostnames (e.g., it translates hostname miles.somewhere.net to IP address 192.168.244.34). DNS is also the standard Internet mechanism for storing and accessing several other kinds of information about hosts; it provides information about a particular host to the world at large. For example, if a host cannot receive mail directly, but another machine will receive mail for it and pass it on, that information is communicated with an MX record in DNS.

DNS clients include any program that needs to do any of the following:

Fundamentally, any program that uses hostnames can be a DNS client. This includes essentially every program that has anything to do with networking, including both client and server programs for Telnet, SMTP, FTP, and almost any other network service. DNS is thus a fundamental networking service, upon which other network services rely.

Other protocols may be used to provide this kind of information. For example, NIS/YP is used to provide host information within a network. However, DNS is the service used for this purpose across the Internet, and clients that need to access Internet hosts will have to use DNS, directly or indirectly. On networks that use NIS/YP or other methods internally, the server for the other protocol usually acts as a DNS proxy for the client. Many clients can also be configured to use multiple services, so that if a host lookup fails, it will retry using another method. Thus, it might start by looking in NIS/YP, which will show only local hosts, but try DNS if that fails, or it might start by looking in DNS, and then try a file on its own disk if that fails (so that you can put in personal favorite names, for example).

In UNIX, DNS is implemented by the Berkeley Internet Name Domain (BIND). On the client side is the resolver, a library of routines called by network processes. On the server side is a daemon called named (also known as in.named on some systems).

DNS is designed to forward queries and responses between clients and servers, so that servers may act on behalf of clients or other servers. This capability is very important to your ability to build a firewall that handles DNS services securely.

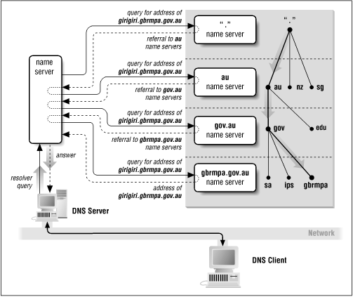
How does DNS work? Essentially, when a client needs a particular piece of information (e.g., the IP address of host ftp.somewhere.net), it asks its local DNS server for that information. The local DNS server first examines its own cache to see if it already knows the answer to the client's query. If not, the local DNS server asks other DNS servers, in turn, to discover the answer to the client's query. When the local DNS server gets the answer (or decides that it can't for some reason), it caches any information it got[34] and answers the client. For example, to find the IP address for ftp.somewhere.net, the local DNS server first asks one of the public root nameservers which machines are nameservers for the net domain. It then asks one of those net nameservers which machines are nameservers for the somewhere.net domain, and then it asks one of those nameservers for the IP address of ftp.somewhere.net.

[34] Some servers will cache the fact that the query failed, on some types of failures; others cache only information retrieved on a successful query.

This asking and answering is all transparent to the client. As far as the client is concerned, it has communicated only with the local server. It doesn't know or care that the local server may have contacted several other servers in the process of answering the original question.

8.10.1 Packet Filtering Characteristics of DNS

There are two types of DNS network activities: lookups and zone transfers. Lookups occur when a DNS client (or a DNS server acting on behalf of a client) queries a DNS server for information, e.g., the IP address for a given hostname, the hostname for a given IP address, the name server for a given domain, or the mail exchanger for a given host. Zone transfers occur when a DNS server (the secondary server) requests from another DNS server (the primary server) everything the primary server knows about a given piece of the DNS naming tree (the zone). Zone transfers happen only among servers that are supposed to be providing the same information; a server won't try to do a zone transfer from a random other server under normal circumstances. People occasionally do zone transfers in order to gather information (this is OK when they're calculating what the most popular hostname on the Internet is, but bad when they're trying to find out what hosts to attack at your site).

For performance reasons, DNS lookups are usually executed using UDP. If some of the data is lost in transit by UDP (remember that UDP doesn't guarantee delivery), the lookup will be redone using TCP. There may be other exceptions. Figure 8.13 shows a DNS name lookup.

Figure 8.13: DNS name lookup

Figure 8.13

A DNS server uses well-known port 53 for all its UDP activities and as its server port for TCP. It uses a random port above 1023 for TCP requests. A DNS client uses a random port above 1023 for both UDP and TCP. You can thus differentiate between the following:

DNS zone transfers are performed using TCP. The connection is initiated from a random port above 1023 on the secondary server (which requests the data) to port 53 on the primary server (which sends the data requested by the secondary). A secondary server must also do a regular DNS query of a primary server to decide when to do a zone transfer. Figure 8.14 shows a DNS zone transfer.

Direc-SourceDest.Pro-SourceDest.ACK
tionAddr.Addr.tocolPortPortSetNotes

In

Ext

Int

UDP

>1023

53

[35]

Incoming query via UDP, client to server

Out

Int

Ext

UDP

53

>1023

[35]

Answer to incoming UDP query, server to client

In

Ext

Int

TCP

>1023

53

[36]

Incoming query via TCP, client to server

Out

Int

Ext

TCP

53

>1023

Yes

Answer to incoming TCP query, server to client

Out

Int

Ext

UDP

>1023

53

[35]

Outgoing query via UDP, client to server

In

Ext

Int

UDP

53

>1023

[35]

Answer to outgoing UDP query, server to client

Out

Int

Ext

TCP

>1023

53

[36]

Outgoing query via TCP, client to server

In

Ext

Int

TCP

53

>1023

Yes

Answer to outgoing TCP query, server to client

In

Ext

Int

UDP

53

53

[35]

Query or response between two servers via UDP

Out

Int

Ext

UDP

53

53

[35]

Query or response between two servers via UDP

In

Ext

Int

TCP

>1023

53

[36]

Query from external server to internal server via TCP; also zone transfer request from external secondary server via TCP

Out

Int

Ext

TCP

53

>1023

Yes

Answer from internal server to external server via TCP; also zone transfer response to external secondary server via TCP

Out

Int

Ext

TCP

>1023

53

[36]

Query from internal server to external server via TCP

In

Ext

Int

TCP

53

>1023

Yes

Answer from external server to internal server via TCP

[35] UDP packets do not have ACK bits.

[36] ACK is not set on the first packet of this type (establishing connection) but will be set on the rest.

Figure 8.14: DNS zone transfer

Figure 8.14

8.10.2 Proxying Characteristics of DNS

DNS is structured so that servers always act as proxies for clients. It's also possible to use a DNS feature called forwarding so that a DNS server is effectively a proxy for another server. The remainder of this DNS discussion describes the use of these built-in proxying features of DNS.

In most implementations, it would be possible to modify the DNS libraries to use a modified-client proxy. On machines that do not support dynamic linking, using a modified-client proxy for DNS would require recompiling every network-aware program. Because users don't directly specify server information for DNS, modified-procedure proxies seem nearly impossible.

8.10.3 DNS Data

The DNS is a tree-structured database, with servers for various subtrees scattered throughout the Internet. There are a number of defined record types in the tree, including:[37]

[37] For detailed information about DNS record types, what they mean, and how to use them, see DNS and BIND, referenced earlier in this chapter.

Record TypeUsage

A

Translates hostname to IP address

PTR

Translates IP address to hostname

CNAME

Translates host alias to hostname ("canonical" name)

HINFO

Gives hardware/software information about a host

NS

Delegates a zone of the DNS tree to some other server

SOA

Denotes start of authority for a zone of the DNS tree

TXT

Unstructured text records

In fact, there are two separate DNS data trees: one for obtaining information by hostname (such as the IP address, CNAME record, HINFO record, or TXT record that corresponds to a given hostname), and one for obtaining information by IP address (the hostname for a given address).

For example, here is a sample of the DNS data for a fake domain somebody.net:

somebody.net. IN SOA tiger.somebody.net. root.tiger.somebody.net. (
                        1001      ; serial number
                        36000       ; refresh (10 hr)
                        3600        ; retry (1 hr)
                        3600000     ; expire (1000 hr)
                        36000       ; default ttl (10 hr)
                        )
               IN  NS       tiger.somebody.net.
               IN  NS       lion.somebody.net.
tiger          IN  A        192.168.2.34
               IN  MX       5 tiger.somebody.net.
               IN  MX       10 lion.somebody.net.
               IN  HINFO    INTEL-486 BSDI
ftp            IN  CNAME    tiger.somebody.net.
lion           IN  A        192.168.2.35
               IN  MX       5 lion.somebody.net.
               IN  MX       10 tiger.somebody.net.
               IN  HINFO    SUN-3 SUNOS
www            IN  CNAME    lion.somebody.net.
wais           IN  CNAME    lion.somebody.net.
alaska         IN  NS       bear.alaska.somebody.net.
bear.alaska    IN  A        192.168.2.81

This domain would also need a corresponding set of PTR records to map IP addresses back to hostnames. To translate an IP address to a hostname, you reverse the components of the IP address, append .IN-ADDR.ARPA, and look up the DNS PTR record for that name. For example, to translate IP address 1.2.3.4, you would look up the PTR record for 4.3.2.1.IN-ADDR.ARPA.

2.168.192.IN-ADDR.ARPA. IN  SOA tiger.somebody.net.root.tiger.somebody.net. ( 
                                 1001     ; serial number
                                 36000    ; refresh (10 hr)
                                 3600     ; retry (1 hr)
                                 3600000  ; expire (1000 hr)
                                 36000    ; default ttl (10 hr)
                                  )
                         IN  NS  tiger.somebody.net.
                         IN  NS  lion.somebody.net.
34                       IN  PTR tiger.somebody.net.
35                       IN  PTR lion.somebody.net.
81                       IN  PTR bear.alaska.somebody.net.

8.10.4 DNS Security Problems

There are some security problems with DNS that are described below.

8.10.4.1 Bogus answers to DNS queries

The first security problem with DNS is that many DNS servers and clients can be tricked by an attacker into believing bogus information. Many clients and servers don't check to see whether all the answers they get relate to questions they actually asked, or whether the answers they get are coming from the server they asked. Servers, in particular, may cache these "extra" answers without really thinking about it, and answer later queries with this bogus cached data. This lack of checking can allow an attacker to give false data to your clients and servers. For example, an attacker could use this capability to load your server's cache with information that says that his IP address maps to the hostname of a host you trust for password-less access via rlogin. (This is only one of several reasons you shouldn't allow the BSD "r" commands across your firewall; see the full discussion of these commands earlier in this chapter.)

NOTE: Later versions of DNS for UNIX (BIND 4.9 and later) check for bogus answers and are less susceptible to these problems. Earlier versions, and DNS clients and servers for other platforms, may still be susceptible.

8.10.4.2 Mismatched data between the hostname and IP address DNS trees

The attack described in the previous section points out the problem of mismatched data between the hostname and IP address trees in the DNS. In a case like the one we've described, if you look up the hostname corresponding to the attacker's IP address (this is called a reverse lookup), you get back the name of a host you trust. If you then look up the IP address of this hostname (which is called a double-reverse lookup), you should see that the IP address doesn't match the one the attacker is using. This should alert you that something suspicious is going on. Reverse and double-reverse lookups are described in more detail in the section called "Set up a `fake' DNS server on the bastion host for the outside world to use" later in this DNS discussion.

Any program that makes authentication or authorization decisions based on the hostname information it gets from DNS should be very careful to validate the data with this reverse lookup/double-reverse lookup method. In some operating systems (for example, SunOS 4.x and later), this check is automatically done for you by the gethostbyaddr() library function. In most other operating systems, you have to do the check yourself. Make sure that you know which approach your own operating system takes and make sure that the daemons that are making such decisions in your system do the appropriate validation. (And be sure you're preserving this functionality if you modify or replace the vendor's libc.) Better yet, don't do any authentication or authorization based solely on hostname or even on IP address; there is no way to be sure that a packet comes from the IP address it claims to come from, unless there is some kind of cryptographic authentication within the packet that only the true source could have generated.

Some implementations of double-reverse lookup fail on hosts with multiple addresses, e.g., dual-homed hosts used for proxying. If both addresses are registered at the same name, a DNS lookup by name will return both of them, but many programs will read only the first. If the connection happened to come from the second address, the double-reverse will incorrectly fail even though the host is correctly registered. Although you should avoid using double-reverse implementations that have this flaw, you may also want to ensure that on your externally visible multi-homed hosts, lookup by address returns a different name for each address, and that those names have only one address returned when it is looked up. For example, for a host named "foo" with two interfaces named "e0" and "e1", have lookups of "foo" return both addresses, lookups of "foo-e0" and "foo-e1" return only the address of that interface, and lookups by IP address return "foo-e0" or "foo-e1" (but not simply "foo") as appropriate.

NOTE: For internal multi-homed hosts, you probably don't want to set things up in the way we've described; if you do, you may end up needing to list them by multiple names anywhere you want to give them permissions, such as in /etc/exports files.

8.10.4.3 Revealing too much information to attackers

Another problem you may encounter when supporting DNS with a firewall is that it may reveal information that you don't want revealed. Some organizations view internal hostnames (as well as other information about internal hosts) as confidential information. They want to protect these host names much as they do their internal telephone directories. They're nervous because internal hostnames may reveal project names or other product intelligence, or because these names may reveal the type of the hosts (which may make an attack easier). For example, it's easy to guess what kind of system something is if its name is "lab-sun" or "cisco-gw".

Even the simplest hostname information can be helpful to an attacker who wants to bluff his way into your site, physically or electronically. Using information in this way is an example of what is commonly called a social engineering attack. The attacker first examines the DNS data to determine the name of a key host or hosts at your site. Such hosts will often be listed as DNS servers for the domain, or as MX gateways for lots of other hosts. Next, the attacker calls or visits your site, posing as a service technician, and says he needs to work on these hosts. He'll ask for the passwords for the hosts (if he calls on the telephone), or ask to be shown to the machine room (if he visits the site). Because the attacker seems legitimate, and seems to have inside information about the site - after all, he knows the names of your key hosts - he'll often gain access. Social engineering attacks like this takes a lot of brazenness on the part of the attacker, particularly if he actually visits your site, but you'd be amazed at how often such attacks succeed.

Besides internal hostnames, other information is often placed within the DNS; information which is useful locally, but which you'd really rather an attacker not have access to. DNS HINFO and TXT resource records are particularly revealing:

HINFO: Host information records

These name the hardware and operating system release that a machine is running: it's very useful information for system and network administrators, but also tells an attacker exactly which list of bugs to try on that machine.

TXT: Textual information records

These are essentially short unformatted text records used by a variety of different services to provide various information. For example, some versions of Kerberos and related tools use these records to store information that, at another site, might be handled by NIS/YP.

Attackers will often obtain DNS information about your site wholesale by contacting your DNS server and asking for a zone transfer, as if they were a secondary server for your site. You can either prevent this with packet filtering (by blocking TCP-based DNS queries, which will unfortunately block more than just zone transfers) or through the xfernets directive of current implementations of BIND (see the BIND documentation for more information).

The question to keep in mind when considering what DNS data to reveal is, "Why give attackers any more information than necessary?" The following sections provide some suggestions to help you reveal only the data you want people to have.

8.10.5 Setting Up DNS to Hide Information

We've mentioned that DNS has a query-forwarding capability.[38] By taking advantage of this capability, you can give internal hosts an unrestricted view of both internal and external DNS data, while restricting external hosts to a very limited ("sanitized") view of internal DNS data. You might want to do this for such reasons as:

[38] Cricket Liu has pointed out that the strategies described in this section do not work for subdomains. If you are using subdomains, refer to http://www.greatcircle.com/firewalls-book/errata.html or to the second edition of DNS and BIND.

Figure 8.15 shows how to set up DNS to hide information; the following sections describe all the details.

Figure 8.15: A firewall can be used to hide DNS information

Figure 8.15

8.10.5.1 Set up a `fake' DNS server on the bastion host for the outside world to use

The first step in hiding DNS information from the external world is to set up a fake DNS server on a bastion host. This server claims to be authoritative for your domain. Make it the server for your domain that is named by the Name Server records maintained by your parent domain. If you have multiple such servers for the outside world to talk to (which you should - some or all of the rest may belong to your service provider), make your fake server the primary server of the set of authoritative servers; make the others secondaries of this primary server.

As far as this fake server on the bastion host is aware, it knows everything about your domain. In fact, though, all it knows about is whatever information you want revealed to the outside world. This information typically includes only basic hostname and IP address information about the following hosts:

  • The machines on your perimeter network (i.e., the machines that make up your firewall).

  • Any machines that somebody in the outside world needs to be able to contact directly. One example of such a machine is an internal Usenet news (NNTP) server that is reachable from your service provider. (See the section on NNTP elsewhere in this chapter for an example of why you might want to allow this.) Another example is any host reachable over the Internet from trusted affiliates. External machines need an externally visible name for such an internal machine; it need not be the internal machine's real name, however, if you feel that the real name is somehow sensitive information, or you just want to be able to change it on a whim.

In addition, you'll need to publish MX records for any host or domain names that are used as part of email addresses in email messages and Usenet news postings, so that people can reply to these messages. Keep in mind that people may reply to messages days, weeks, months, or even years after they were sent. If a given host or domain name has been widely used as part of an email address, you may need to preserve an MX record for that host or domain forever, or at least until well after it's dead and gone, so that people can still reply to old messages. If it has appeared in print, "forever" may be all too accurate; sites still receive electronic mail for machines decommissioned five and 10 years ago.

You will also need to publish fake information for any machines that can contact the outside world directly. Many servers on the Internet (for example, most major anonymous FTP servers) insist on knowing the hostname (not just the IP address) of any machines that contact them, even if they do nothing with the hostname but log it. In the DNS resource records, A (name-to-address mapping) records and PTR (address-to-name mapping) records handle lookups for names and addresses.

As we've mentioned earlier, machines that have IP addresses and need hostnames do reverse lookups. With a reverse lookup, the server starts with the remote IP address of the incoming connection, and looks up the hostname that the connection is coming from. It takes the IP address (for example, 172.16.19.67), permutes it in a particular way (reverses the parts and adds .IN-ADDR.ARPA to get 67.19.16.172.IN-ADDR.ARPA, and looks up a PTR record for that name. The PTR record should return the hostname for the host with that address (e.g., mycroft.somewhere.net), which the server then uses for its logs or whatever.

How can you deal with these reverse lookups? If all these servers wanted was a name to log, you could simply create a wildcard PTR record. That record would indicate that a whole range of addresses belongs to an unknown host in a particular domain. For example, you might have a lookup for *.19.16.172.IN-ADDR.ARPA return unknown.somewhere.net). Returning this information would be fairly helpful; it would at least tell the server administrator whose machine it was (somewhere.net's). Anyone who had a problem with the machine could pursue it through the published contacts for the somewhere.net domain.

There is a problem with doing only this, however. In an effort to validate the data returned by the DNS, more and more servers (particularly anonymous FTP servers) are now doing a double-reverse lookup, and won't talk to you unless the double-reverse lookup succeeds. This is the same kind of lookup we mentioned above; it's certainly necessary for people who provide a service where they need any degree of authentication of the requesting host. Whether or not anonymous FTP is such a service is another question. Some people believe that once you put a file up for anonymous FTP, you no longer have reason to try to authenticate hosts; after all, you're trying to give information away. People running anonymous FTP servers that do double-reverse lookup argue that people who want services have a responsibility to be members of the network community and that requires being identifiable. Whichever side of the argument you're on, it is certainly true that the maintainers of several of the largest and best-known anonymous FTP servers are on the side that favors double-reverse lookup, and will not provide service to you unless double-reverse lookup succeeds.

In a double-reverse lookup, a DNS client:

  • Performs a reverse lookup to translate an IP address to a hostname.

  • Does a regular lookup on that hostname to determine its nominal IP address.

  • Compares this nominal IP address to the original IP address.

Your fake server needs to provide consistent fake data for all hosts in your domain whose IP addresses are going to be seen by the outside world. For every IP address you own, the fake server must publish a PTR record with a fake hostname, as well as a corresponding A record that maps the fake hostname back to the IP address. For example, for address 172.16.1.2, you might publish a PTR record with the name host-172-16-1-2.somewhere.net and a corresponding A record which maps host-172-16-1-2.somewhere.net back to the corresponding IP address (172.16.1.2). When you connect to some remote system that attempts to do a reverse lookup of your IP address (e.g., 172.16.1.2) to determine your hostname, that system will get back the fake hostname (e.g., host-172-16-1-2). If the system then attempts to do a double-reverse lookup to translate that hostname to an IP address, it will get back 172.16.1.2, which matches the original IP address and satisfies the consistency check.

If you are strictly using proxying to connect internal hosts to the external world, you don't need to set up the fake information for your internal hosts; you simply need to put up information for the host or hosts running the proxy server. The external world will see only the proxy server's address. For a large network, this by itself may make using proxy service for FTP worthwhile.

8.10.5.2 Set up a real DNS server on an internal system for internal hosts to use

Your internal machines need to use the real DNS information about your hosts, not the fake information presented to the outside world. You do this through a standard DNS server setup on some internal system. Your internal machines may also want to find out about external machines, though, e.g., to translate the hostname of a remote anonymous FTP site to an IP address.

One way to accomplish this is to provide access to external DNS information by configuring your internal DNS server to query remote DNS servers directly, as appropriate, to resolve queries from internal clients about external hosts. Such a configuration, however, would require opening your packet filtering to allow your internal DNS server to talk to these remote DNS servers (which might be on any host on the Internet). This is a problem because DNS is UDP-based, and as we discuss in Chapter 6, you need to block UDP altogether in order to block outside access to vulnerable RPC-based services like NFS and NIS/YP.

Fortunately, the most common DNS server (the UNIX named program) provides a solution to this dilemma: the forwarders directive in the /etc/named.boot server configuration file. The forwarders directive tells the server that, if it doesn't know the information itself already (either from its own zone information or from its cache), it should forward the query to a specific server and let this other server figure out the answer, rather than try to contact servers all over the Internet in an attempt to determine the answer itself. In the /etc/named.boot configuration file, you set up the forwarders line to point to the fake server on the bastion host; the file also needs to contain a "slave" line, to tell it to only use the servers on the forwarders line, even if the forwarders are slow in answering.

The use of the forwarders mechanism doesn't really have anything to do with hiding the information in the internal DNS server; it has everything to do with making the packet filtering as strict as possible (i.e., applying the principle of least privilege), by making it so that the internal DNS server need only be able to talk to the bastion host DNS server, not to DNS servers throughout the whole Internet.

If internal hosts can't contact external hosts, you may not want to bother setting things up so that they can resolve external host names. SOCKS proxy clients can be set up to use the external name server directly. This simplifies your name service configuration somewhat, but it complicates your proxying configuration, and some users may want to resolve hostnames even though they can't reach them (for example, they may be interested in knowing whether the hostname in an email address is valid).

Figure 8.16 shows how DNS works with forwarding; Figure 8.17 shows how it works without forwarding.

Figure 8.16: DNS with forwarding

Figure 8.16

Figure 8.17: DNS without forwarding

Figure 8.17

8.10.5.3 Internal DNS clients query the internal server

The next step is to configure your internal DNS clients to ask all their queries of the internal server. On UNIX systems, you do this through the /etc/resolv.conf file. There are two cases:

  • When the internal server receives a query about an internal system, or about an external system which is in its cache, it answers directly and immediately because it already knows the answers to such queries.

  • When the internal server receives a query about an external system that isn't in its cache, the internal server forwards this query to the bastion host server (because of the forwarders line described above). The bastion host server obtains the answer from the appropriate DNS servers on the Internet and relays the answer back to the internal server. The internal server then answers the original client and caches the answer.

In either case, as far as the client is concerned, it asked a question of the internal server and got an answer from the internal server. The client doesn't know whether the internal server already knew the answer or had to obtain the answer from other servers (indirectly, via the bastion server). Therefore, the /etc/resolv.conf file will look perfectly standard on internal clients.

8.10.5.4 Bastion DNS clients also query the internal server

The key to this whole information-hiding configuration is that DNS clients on the bastion host must query the internal server for information, not the server on the bastion host. This way, DNS clients on the bastion host (such as Sendmail, for example) can use the real hostnames and so on for internal hosts, but clients in the outside world can't access the internal data.

DNS server and client configurations are completely separate. Many people assume that they must have configuration files in common, that the clients will automatically know about the local server, and that pointing them elsewhere will also point the server elsewhere. In fact, there is no overlap. Clients never read /etc/named.boot, which tells the server what to do, and the server never reads /etc/resolv.conf, which tells the clients what to do.

Again, there are two cases:

  • When a DNS client on the bastion host asks about an internal system, it gets the real answer directly from the internal server.

  • When a DNS client on the bastion host asks about an external system, the internal DNS server forwards the query to the bastion DNS server. The bastion server obtains the answer from the appropriate DNS servers on the Internet, and then relays the answer back to the internal server. The internal server, in turn, answers the original client on the bastion host.

DNS clients on the bastion host could obtain information about external hosts more directly by asking the DNS server on the bastion host instead of the one on the internal host. However, if they did that, they'd be unable to get the "real" internal information, which only the server on the internal host has. They're going to need that information, because they're talking to the internal hosts as well as the external hosts.

8.10.5.5 What your packet filtering system needs to allow

In order for this DNS forwarding scheme to work, any packet filtering system between the bastion host and the internal systems has to allow all of the following (see the table below for details):

  • DNS queries from the internal server to the bastion host server: UDP packets from port 53 on the internal server to port 53 on the bastion host (rule A), and TCP packets from ports above 1023 on the internal server to port 53 on the bastion host (rule B).

  • Responses to those queries from the bastion host to the internal server: UDP packets from port 53 on the bastion host to port 53 on the internal server (rule C), and TCP packets with the ACK bit set from port 53 on the bastion host to ports above 1023 on the internal server (rule D).

  • DNS queries from the bastion host DNS clients to the internal server: UDP and TCP packets from ports above 1023 on the bastion host to port 53 on the internal server (rules E and F).

  • Responses from the internal server to those bastion host DNS clients: UDP packets and TCP packets with the ACK bit set from port 53 on the internal server to ports above 1023 on the bastion host (Rules G and H).

Direc-SourceDest.Pro-SourceDest.ACK
RuletionAddr.Addr.tocolPortPortSetAction

A

Out

Internal Server

Bastion Host

UDP

53

53

[39]

Permit

B

Out

Internal Server

Bastion Host

TCP

>1023

53

Any

Permit

C

In

Bastion Host

Internal Server

UDP

53

53

[39]

Permit

D

In

Bastion Host

Internal Server

TCP

53

>1023

Yes

Permit

E

In

Bastion Host

Internal Server

UDP

>1023

53

[39]

Permit

F

In

Bastion Host

Internal Server

TCP

>1023

53

Any

Permit

G

Out

Internal Server

Bastion Host

UDP

53

>1023

[39]

Permit

H

Out

Internal Server

Bastion Host

TCP

53

>1023

Yes

Permit

[39] UDP packets do not have ACK bits.

8.10.6 Setting up DNS Without Hiding Information

The approach we've described above is not the only option. Suppose that you don't feel it's necessary to hide your internal DNS data from the world. In this case, your DNS configuration is similar to the one we've described above, but it's somewhat simpler. Figure 8.18 shows how DNS works without information hiding.

Figure 8.18: DNS without information hiding

Figure 8.18

With this alternate approach, you should still have a bastion host DNS server and an internal DNS server; however, one of these can be a secondary server of the other. Generally, it's easier to make the bastion DNS server a secondary of the internal DNS server, and to maintain your DNS data on the internal server. You should still configure the internal DNS server to forward queries to the bastion host DNS server, but the bastion host DNS clients can be configured to query the bastion host server instead of the internal server.

You need to configure any packet filtering system between the bastion host and the internal server to allow the following (see the table below for details):

If the bastion host is also a DNS secondary server and the internal host is the corresponding DNS primary server, you also have to allow the following:

Direc-SourceDest.Pro-SourceDest.ACK
RuletionAddr.Addr.tocolPortPortSetAction

A

Out

Internal Server

Bastion Host

UDP

53

53

[40]

Permit

B

Out

Internal Server

Bastion Host

TCP

>1023

53

Any

Permit

C

In

Bastion Host

Internal Server

UDP

53

53

[40]

Permit

D

In

Bastion Host

Internal Server

TCP

53

>1023

Yes

Permit

E

In

Bastion Host

Internal Server

TCP

>1023

53

Any

Permit

F

Out

Internal Server

Bastion Host

TCP

53

>1023

Yes

Permit

[40] UDP packets do not have ACK bits.

8.10.7 Summary of DNS Recommendations


Previous: 8.9 Real-Time Conferencing ServicesBuilding Internet FirewallsNext: 8.11 syslog
8.9 Real-Time Conferencing ServicesBook Index8.11 syslog